湖南产品展示
/ Products Classification 点击展开+详细介绍
一、湖南海湾GST-TS-100A消防电话分机概述
GST-TS-100A总线制固定式消防电话分机是为消防专用而设计开发的总线制通讯设备,通过它可迅速实现对火灾的人工确认,并可及时掌握火灾现场情况及进行其它必要的通信联络,便于指挥灭火及恢复工作。
二、湖南海湾GST-TS-100A消防电话分机特点
GST-TS-100A型消防电话分机是消防专用总线制通讯设备,GST-TS-100A型消防电话分机为固定式安装,摘机即呼叫电话主机。
三、湖南海湾GST-TS-100A消防电话分机技术特性
工作电压 | DC24V,允许范围:DC20V~DC28V |
工作电流 | 通话时电流约为25mA |
线制 | 无极性二总线制 |
使用环境 | 温度:-10℃~+50℃ 相对湿度:≤95%,不凝露 |
外形尺寸 | 206mm×56mm×51.5mm |
执行标准 | Q/GST28-2005 |
四、湖南海湾GST-TS-100A消防电话分机结构特征与安装
GST-TS-100A 型消防电话分机、GST-TS-100B 型消防电话分机外形尺寸及结构示意图分别如图。
GST-TS-100A型消防电话分机外形结构图
GST-TS-100B 型消防电话分机外形尺寸及结构示意图
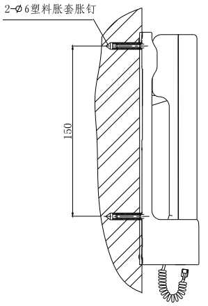
GST-TS-100A 型消防电话分机安装示意图如图所示:
GST-TS-100A 型消防电话分机安装示意图
在安装处打出间距为150mm的两个φ6的孔,穿入φ6的胀套,用φ6的胀钉固定好后,将GST-TS-100A消防电话分机底座直接挂在胀钉上。将电话线插头插入GST-LD-8304型消防电话接口的电话插孔内。
GST-TS-100B型消防电话分机的电话线插头,直接接入GST-LD-8312型消防电话插孔的插孔内即可使用。
本文标签:
相关服务 / service
地区产品 / city
相关产品 / product
相关新闻 / news
- 湖南气体灭火系统管道管件材质要求[ 2025-10-14 ]
- 湖南防火卷帘门维修,防火卷帘门维修与修理[ 2025-10-14 ]
- 湖南一地中级职称认定手续简化,可无需换发职称证书[ 2025-10-09 ]
- 湖南公共建筑内厨房的排油烟管道设置的防火阀动作温度应为150℃[ 2025-09-28 ]
- 湖南稳压泵与稳压罐气压匹配的技术探讨[ 2025-09-22 ]
- 湖南细水雾喷头布置间距标准[ 2025-09-22 ]
- 湖南避难间内应设置消防软管卷盘、灭火器、消防专线电话和应急广播[ 2025-09-16 ]
- 湖南未设置火灾自动报警系统的建筑内,设有防火卷帘、电动挡烟垂壁等需要联动的消防设备,如何处理?[ 2025-09-16 ]
联系我们
- 电话:4006-598-119
- 邮箱:1334605518@qq.com
- 地址:苏州市常熟市黄河路275号
- 版权所有:智淼君安(江苏)消防工程技术有限公司
- 海湾消防 www.gstyg.com 网站地图 (XML/TXT)
- ICP备案证书号:苏ICP备19022074号-10
苏公网安备32058102002167号
扫一扫,关注我们

- 湖南关于我们
- 湖南产品展示
- 湖南火灾自动报警系统
- 湖南气体灭火系统
- 湖南电气火灾监控系统
- 湖南消防电源监控系统
- 湖南防火门监控系统
- 湖南应急照明疏散系统
- 湖南极早期空气采样系统
- 湖南消防余压监控系统
- 湖南可燃气体监控系统
- 湖南智慧消防物联网系统
- 湖南涉外消防设备
- 湖南空气采样探测器
- 湖南消防水炮系统
- 湖南其它配件
- 湖南联网及通讯接口
- 湖南海湾消防技术视频
- 图探系统
- 湖南新闻中心
- 湖南技术文章