服务热线
4006-598-119
湖南海湾消防续写奥运精神,筑造大型体育馆安全新防线!

北京时间8月12日凌晨,随着法兰西体育馆中奥运会主火炬缓缓熄灭,巴黎奥运会正式闭幕。恭喜中国代表团收获了91枚奖牌,其中数创下了境外参加奥运会的更佳 成绩。
大型体育场馆作为竞技比赛的核心载体,不仅见证了运动员们的汗水与辉煌,更需确保每一位参与者及观众的安然无虞。
湖南海湾消防能为大型体育场馆
设计并实施消防应急解决方案,
还拥有多款适用于体育场馆的
应急疏散消防产品,
以满足不同场景下的安全需求。
海湾VN400系列大型标志灯
集中电源集中控制型消防应急标志灯具

海湾VN400系列标志灯为二线制产品,有壁挂和吊装两种系列。灯具通过信号总线接入应急照明集中电源;受应急照明控制器的控制及管理。采用电子编码方式现场编码。
具有以下工作状态:
1.常亮—正常状态
2.闪亮或定向闪亮—应急状态
3.定向—双向标志灯指向一侧
4.熄灭—指示关闭
主要特点
★
低功耗设计,环保节能
★
工业级16位CPU芯片集中控制
★
智能显示,远程设置常亮、闪亮、熄灭,直观方便
★
实时监测,可识别和反馈光源、电源和通讯故障
★
现场编码,调试方便
技术特性

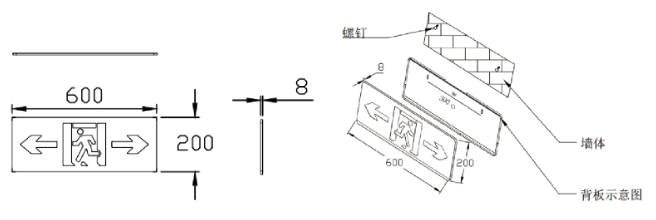
关键尺寸图(mm)

海湾VN500系列
集中电源集中控制型消防应急标志灯具

海湾VN500系列为海湾二线制地埋灯具,直径160mm,带飘边设计,灯具通过信号总线接入应急照明集中电源;受应急照明控制器的控制及管理。采用电子编码方式现场编码。
具有以下工作状态:
常亮—正常状态
闪亮或定向闪亮—应急状态
定向—双向标志灯指向一侧
熄灭—指示关闭
主要特点
★
低功耗设计,环保节能
★
工业级16位CPU芯片集中控制
★
智能显示,远程设置常亮、闪亮、熄灭,直观方便
★
实时监测,可识别和反馈光源、电源和通讯故障
★
现场编码,调试方便
技术特性

关键尺寸图(mm)
